|

EINLEITUNG
Fertigt man ein Schiffsmodell an, sollte man zunächst dessen Gesamtbild sowie die Modelleinzelheiten gründlich studieren.
Bevor man die einzelnen Teile, die schon mit dem Laser von den Holzbrettchen abgeschnitten sind, abtrennt, muss man diese mit Nummern versehen. Die den einzelnen Teilen entsprechenden Nummern sind auf den Abbildungen der Tafeln 1-2-3-4 ersichtlich.
Schritt 1
Um die Teile von den Holzbrettchen abzutrennen, verwendet man einen Sockelschneider wie auf Figur 1, Tafel Nr. 1 zu erkennen ist.
Um auf dem Arbeitstisch kein Durcheinander zu schaffen, sollte man von den Sperrholzplatten nur jeweils die Teile ablösen, die für die Herstellung jeder einzelnen Phase benötigt werden.
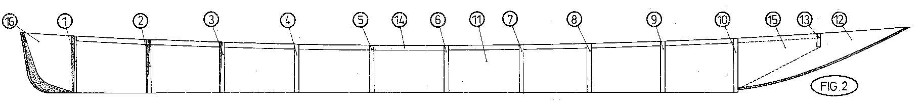
Schritt 2
Man blockiert den Kiel Nr. 11 am Anlegeplatz (optional Art. 8155) und steckt die Teile, ohne sie zu kleben wie auf Figur 2 Tafel Nr. 5 zusammen. (Bootsstruktur).


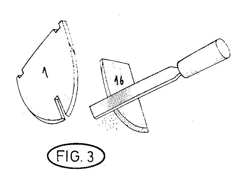
Schritt 3 
Mit einer Verkleidungsleiste von 1,5x6 mm berechnet man die Zuspitzungsquote, die auf den Spanten Nr. 12-3 und auf den Verbindungsstücken Nr. 16 durchzuführen ist, man ersieht dies auf Figur 3. Man zerlegt die Struktur und baut sie erneut zusammen, indem man sie diesmal mit Harzleim Artikel 1016 zusammenklebt (wer ein schiffstüchtiges Modell erhalten will, sollte Zweiphasenkleber z.B. epoxy Artikel 70515 und plastikbildende Lacke anwenden).
Schritt 4
Figur 4 - Man beginnt mit der ersten Verkleidung mit den Leisten von 1,5x6x1025 mm, und um zu vermeiden, dass der Schiffsrumpf sich deformiert, wechselt man alle zwei Leisten von einer Schiffsflanke auf die andere.

Jede Leiste, die an der Flanke befestigt wird, muss um ca. 160 mm zugespitzt werden und mit Nägelchen in Position gebracht werden, bevor sie angeklebt wird. Nach dem Anlegen von 9 Leisten pro Flanke, wird die zehnte Leiste in parallele Position gebracht, und zwar ungefähr 40 mm vom Kiel entfernt und indem man die Leisten abwechselnd anbringt, verkleidet man so den gesamten Rumpf.
Auch die Schräge des Hecks wird mit Leisten von 1,5x6 mm verkleidet, mit einigen Nadeln fixiert, bis der aufgetragene Leim trocknet, siehe dafür die Zeichnung.
Mit einer kleinen Zange entfernt man die Nägelchen und mit einem Schaber gleicht man Unebenheiten zwischen den Leisten aus. Dann schmirgelt man die gesamte Verkleidung mit Schleifpapier von 80er Maß ab und beginnt mit der zweiten Verkleidung, wobei man Leisten von 1 x6x1025 mm verwendet.

 |