|

Schritt 18:
Stellen Sie das Ruder Nr. 41 her, und befestigen Sie die Scharnierteile mit Klebstoff und Messingnägeln an Achtersteven und Ruderblatt. Verbinden Sie die Scharnierteile mit Stiften von 2,5 mm ". Befestigen Sie die Sorg kette mit 3 Augbolzen, wie auf Bogen 4 gezeigt. Befestigen Sie das Namensschild unter dem Spiegel. Kleben Sie die beiden Stückpfortendeckelohne Rahmen auf die Gillung gemäß Foto Nr. 5.
Schritt 19:
Biegen Sie die Ätzteile Nr. 43L um die Halbsäulen Nr. 43, und kleben Sie sie auf. Leimen Sie ebenfalls Nr. 39L auf das Galionsschott. Setzen Sie die zwei Dächer Nr. 44 und die Nußbaumleiste 1 x2 mm gemäß Abbildung 17 im Handbuch.
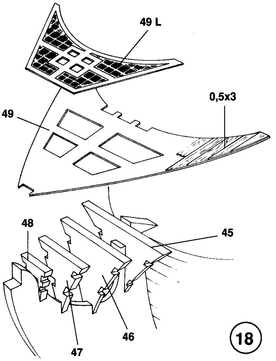
Schritt 20:
Schlagen Sie im Handbuch Seite 8, Abbildung 18, auf, und informieren Sie sich über die Lage der 4 Galions spanten Nr. 45 bis 48. Passen Sie die Spanten am Scheg an, damit das Deck Nr. 49 eben aufliegen kann. Beplanken Sie dann das Galionsdeck mit Nußbaumleisten 0,5x3 mm, und lackieren Sie es. Leimen Sie das Galionsgräting Nr. 49L auf, nach dem Sie die 4 Öffnungen gemäß Abbildung 18 (im Handbuch) ausgeschnitten haben.

Schritt 21:
Setzen Sie die Galionsknie Nr. 50 und 51, passen Sie die Konturstreifen aus Messing an, und befestigen Sie sie mit Sekundenkleber und Nagel. Passen Sie die Galionsregeln Nr. 52 aus Sperrholz 5 mm an, und setzen Sie die Verzierung Nr. 53 aus Sperrholz 3 mm ein. Stellen Sie aus Nußbaum 5x5 mm die Kranbalken Nr. 54 für die Anker her. Unter den Kranbalken kleben Sie das Knie Nr. 55, dahinter Knie Nr. 56.
Schritt 22:
Beplanken Sie die Wantrüsten Nr. 57, 58, 59 und die Pardunenrüsten Nr. 60 und 61 mit Nußbaum 0,5x3 mm. Färben Sie die Außenkanten mit nussbaumfarbener Wasserbeize ein, und lackieren Sie alle Rüsten farblos, wenn Klebstoff und Beize trocken geworden sind. Zeichnen Sie an beiden Rumpfseiten die Lage der Rüsten an, die Sie aus Bogen 4 entnehmen können. Zur Befestigung der Rüsten stecken Sie nach Vorbohren jeweils 2 Nägel in die Rückseiten und knipsen den Kopf ab. Der hervorstehende Stift von ca. 5 mm Länge wird dann in entsprechend vorgebohrte Löcher in der Bordwand gesteckt und verleimt. Die gut angepaßte Rückseite verleimen Sie am besten mit Sekundenkleber. Abbildung 19 im Handbuch zeigt die Anordnung.
Schritt 23:
Schneiden Sie vorsichtig die Verzierungen A, B, C (Abbildung 20, Bogen 4) aus dem Ätzblech aus, verputzen Sie die Kanten, und kleben Sie die Teile entsprechend der Seitenansicht auf Bogen 4 mit Sekundenkleber auf. Die Geschützpfortensimse finden Sie als Fertigteile in einem der Blisterfächer. Leimen Sie diese entsprechend der Seitenansicht, Bogen 4, auf, die glatten Simse an der unteren Geschützreihe, die geschweiften an der oberen.
Lackieren Sie die Abschlußleisten der Rüste (Nussbaum 2x2 mm), und leimen Sie sie vor die Rüste (Foto 7).
|