|
 Schritt 24:
Arbeiten Sie mit Feile und Sandpapier die Überdachung Nr. 62 für die Seitenausgänge gemäß Abbildung 21 im Handbuch heraus, biegen Sie die Verzierung Nr. 62L passend zu, und verleimen Sie alles mit der Bordwand. Längen Sie die Treppenstufen aus der Profilleiste ab, deren Maße Sie aus der Seitenansicht abnehmen, und kleben Sie die Stufen an die Bordwand. Foto 8 auf Seite 10 des Handbuches zeigt die Anordnung.
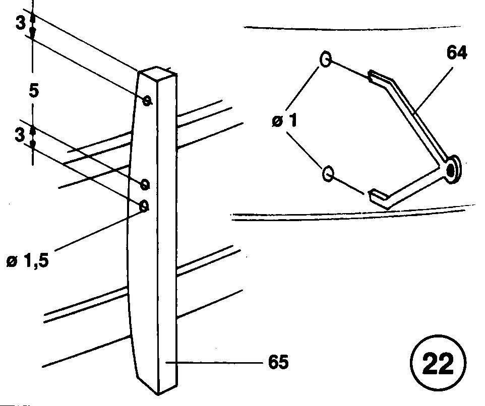
Schritt 25:
Schneiden Sie aus der Ätzplatte die Ausleger Nr. 64 aus, bohren Sie in die Bordwand 2 Löcher von 1 mm entsprechend der Seitenansicht auf Planbogen 4, und kleben Sie sie ein. Lösen Sie die 2 Teile Nr. 65 aus der Sperrholzplatte, bohren Sie nach Zeichnung 22 des Handbuches 3 Löcher von 1,5 mm ", verputzen Sie die Teile, und kleben Sie sie an die Bordwand gemäß Bogen 4.
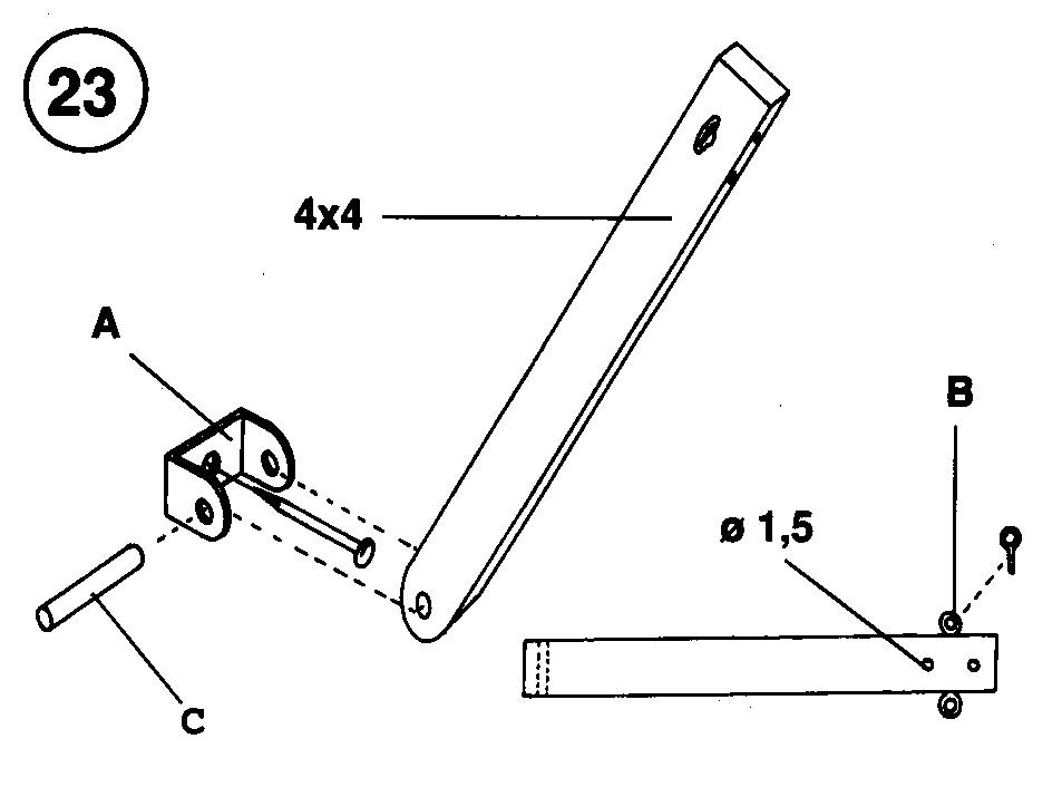
Schritt 26: 
Längen Sie von einer Nußbaumleiste 4x4 mm die Kranbalken für die seitlichen Beiboote ab, und runden Sie die Unterkante gemäß Zeichnung 23. Stellen Sie aus Messingband 0,5 x 2,5 mm die Lasche A her, und befestigen Sie sie an der Bordwand. Bringen Sie an den Kranbalken die Bohrungen und Augbolzen nach Zeichnung an, hängen Sie die Kranbalken mit Drahtstift C ein, und bringen Sie das Rigging nach Bogen 4 aus c Takelgarn 0,75 mm" an.

Schritt 27:
Verputzen und leimen Sie die Leisten 4x4 mm auf den Bug. Aus dem Sperrholz 2 mm lösen Sie die 30 Belegköpfe Nr. 68 und aus Sperrholz 1,2 mm die 4 Führungsleisten Nr. 66 und die zwei Stücke Nr. 67. Feilen Sie die Köpfe nach Zeichnung 24 zu, und leimen Sie sie ein. Setzen Sie die Betinge nach Einleimen der Querbalken gemäß Draufsicht auf Bogen4 auf Deck.
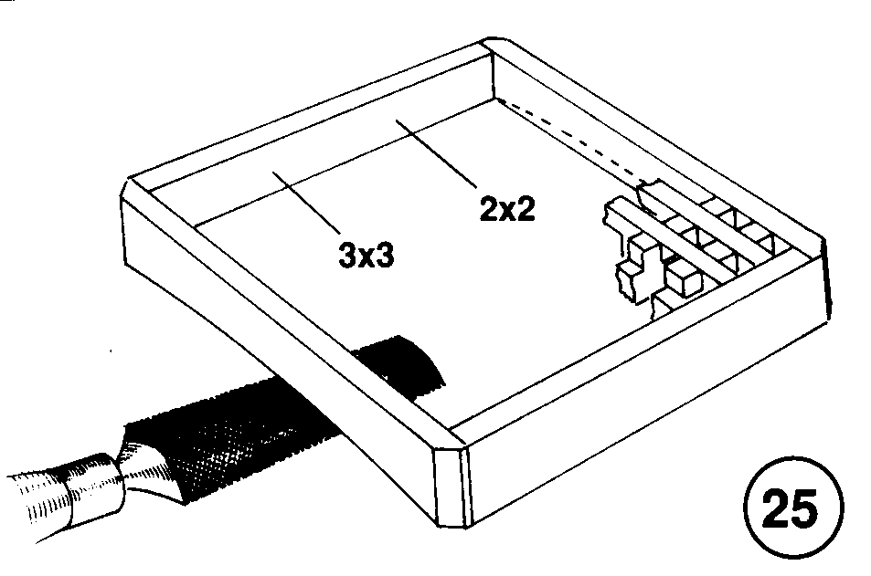
Schritt 28:
Die Maße der Luken und Grätings entnehmen Sie Bogen 4. Setzen Sie die Grätings aus den Zahnleisten zusammen, und rahmen Sie sie mit Nußbaum 3x3 mm auf Deck Nr. 32 und mit Leisten 2x2 mm auf Deck Nr. 33 ein. Passen Sie die Rahmenleisten der Deckswölbung gemäß Zeichnung 25 an.
Vervollständigen Sie die Luken mit den Niedergängen und Geländern gemäß Zeichnung 26 und 27. Vor dem Aufleimen dieser Teile lackieren Sie sie mit transparentem Mattlack.
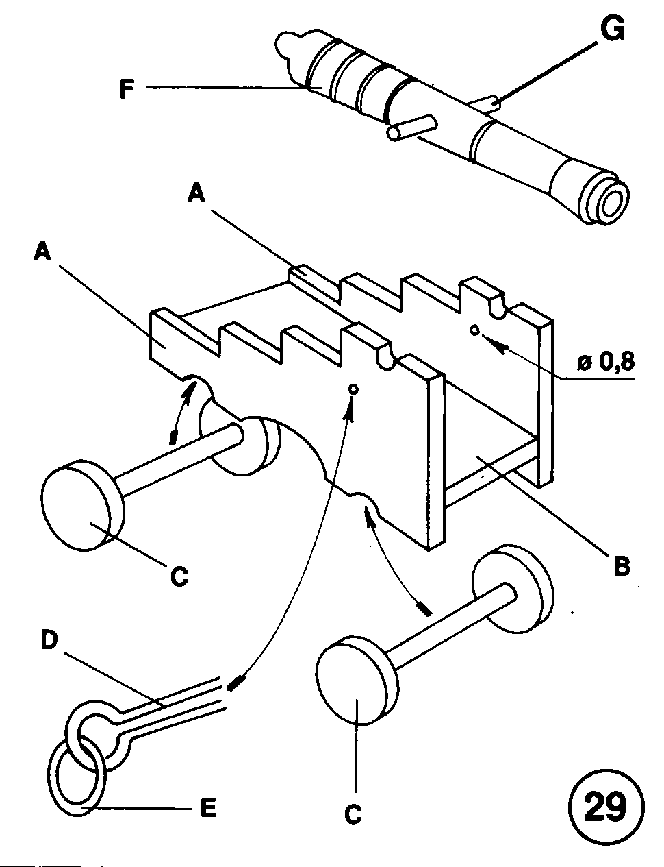
Schritt 29:
Entnehmen Sie dem Sperrholz 3 mm die Lafettenteile für Carronade und Geschütze (Nr. 69). Setzen Sie die Carronaden-Lafette gemäß Zeichnung 28 aus Nußbaumleisten 1 x3 und 1 x5 mm zusammen, und befestigen Sie das Geschützrohr mit einem Drahtstückchen von 0,5 mm.
Zeichnung 29 zeigt den Aufbau der Geschütze, 10 Stück für das Unterdeck, 6 Stück für das Oberdeck. Hier verwenden Sie die Sperrholzteile Nr. 70 und 71.
Zeichnung 30 zeigt die Anordnung der Geschütze und die einfache Takelung an den Schanzkleid stützen aus Nußbaum 1x3 mm. Zum Takeln nehmen Sie Garn von 0,5 mm.

|