|

Schritt 45:
Zeichnung P 16 zeigt die oberen Legel von den Stagen. Alle Stage stellen Sie aus Takelgarn 1 ,75 mm 0 her. Großmaststage laufen bis zum Fuß des Bugspriets und werden dort mit Hilfe der Blöcke und Taljen gespannt. Fock- und Großstag sind doppelt ausgeführt (Bogen 6) und werden jeweils untereinander mit Garn 0,25 mm 0 in O-Form (P 16) verbunden.
Die Kreuzstage sind am Großmast belegt.
Die Anordnung aller Stengestage können Sie leicht Bogen 6 entnehmen, wobei die Taustärken auf der Schemazeichnung links unten verdeutlicht sind.
Schritt 46: 
Bevor Sie mit dem durchlaufend numerierten stehenden Gut beginnen, sollten Sie alle Rahen an den Masten befestigen. Die Unterrahen von Groß- und Fockmast haben eine festen Hanger P gemäß Zeichnung P 17. Außerdem sind diese Rahen durch jeweils ein Takel Nr. 1 und 2 am Fockmast und Nr. 31 und 32 am Großmast gehalten.
Die Bagienrah (Unterrah) am Kreuzmast hängt an einem Tau P (P 17), das in ein Takel einmündet.
Die Hanger der Stengerahen sind durchweg als Takel ausgebildet (P 18), deren Taustärken und Blöcke Sie wiederum aus der Schemazeichnung entnehmen können.
Schritt 47:
Das laufende Gut wird an den Nagelbänken mit dem sog. Palstek gemäß Zeichnung P 19 belegt.
P 20 zeigt die Anordnung der Toppnanten 5, 6, 7,8 u .s. w. P 21 zeigt die Anordnung der Brassen 25, 26, 27, 28 u.s.w. an den nocks der Rahen und an den Stagen.
 
P 22 zeigt, wie die Flaggen an den Heißleinen befestigt werden.
P 23 zeigt das Rigging der Beiboot-Kranbalken, das am Kreuzmast befestigt wird.

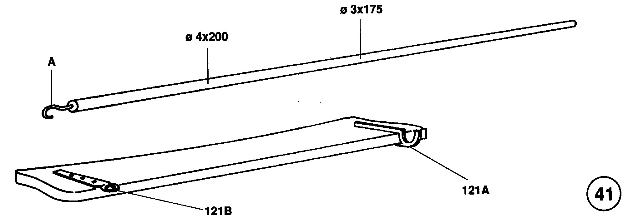
Zeichnung 41 zeigt die Befestigung der Spreizspieren an den Rüsten. Schneiden Sie mit einer Schere die Teile 121 A und 121 B aus der Ätzplatte aus, und kleben Sie sie an die Rüsten. Stellen Sie aus Messingdraht von 1 mm 0 die Haken her, und leimen Sie sie in die Spieren. Die Spieren 0 3x175 mm gehören zum Fockmast, die mit 0 4x200 mm zum Großmast.
Schritt 48: 
Feilen Sie zuerst die Ankerstöcke Nr. 124 gemäß Zeichnung 43 zu, und bauen Sie die Anker zusammen. Die Wicklungen um die Ankerstöcke führen Sie mit Garn 0,75 mm 0 aus, das Sie gut mit dem Holz verkleben müssen.
leimen Sie die Ankerauflage Nr. 122 gemäß Bogen 4 auf den Decksrand hinter der Fockrüste, und befestigen Sie den schweren Zusatzanker, wie auf dem Baukastenbild sichtbar.
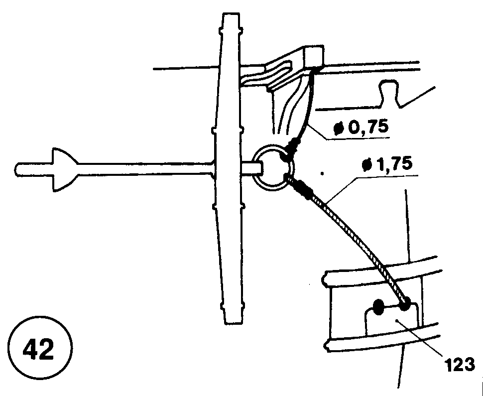
Die Führung des schweren Ankerkabels durch die Bugklüse Nr. 123 und die Aufhängung am Kranbalken ist in Zeichnung 42 eindeutig dargestellt. |